GB T1853-2008 Marine Cast Steel Stop Check Valve
GB T1853-2008 Marine Cast Steel Stop Check Valve
1. Application
GB T1853-2008 Marine Cast Steel Stop Check Valve can be used in sea water and fresh water.
2. Material
(1) body & cover: cast steel
(2) disc & seat: cast tin bronze
(3) stem: aluminum bronze
We can customize the material according to customer demand.
3. Nominal Pressure(MPa) & Diameter(mm)
Pressure: 0.6
Diameter: 40~350
4. Features
(1) We can provide sample if necessary.
(2) Excellent quality and beautiful shape.
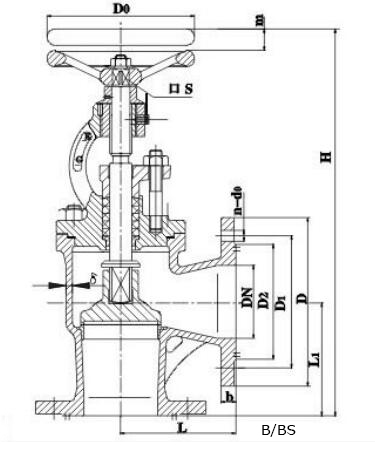
5. Dimensions
Type A & Type B
DN
(mm)
Structure dimension
Thickness
t
flange
bolt
Hand wheel
Life
Range
m
Weight(kg)
A
B
H
L
H
L
L1
D
D1
D2
d0
b
n
Th.
D0
S
A
B
40
300
200
326
90
90
6
125
93
74
15
13
6
M14
120
11
12
7.8
7.5
50
218
230
383
95
95
7
135
103
84
15
13
6
M14
140
12
15
10.8
10.7
65
348
290
430
115
115
7
155
123
104
15
14
6
M14
140
12
19
16.3
15.9
80
390
310
474
125
125
7
170
138
118
15
14
8
M14
160
14
23
21.6
21.0
100
414
350
498
150
135
8
190
158
138
15
14
8
M14
180
14
28
29.7
27.6
125
466
400
561
175
155
8
215
183
164
16
14
10
M14
200
17
35
39.5
39.0
150
528
480
616
180
160
9
240
208
190
16
14
12
M14
200
17
42
54.8
49.2
200
736
600
829
215
215
10
295
264
247
16
15
12
M14
280
22
55
89.0
70.0
250
858
730
986
250
250
11
365
327
306
18
16
14
M16
320
27
65
139.4
117.5
300
1015
850
1160
300
300
12
430
386
360
22
19
14
M20
400
27
80
192.6
170.8
350
1065
980
1210
320
320
12
480
436
410
22
28
16
M20
450
32
100
230.9
220.4
Type AS & Type BS
DN
(mm)
Structure dimension
Thickness
t
flange
bolt
Hand wheel
Lift
Range
m
Weight(kg)
AS
BS
H
L
H
L
L1
D
D1
D2
d0
b
n
Th.
D0
S
AS
BS
40
300
200
326
115
115
6
130
100
80
14
16
4
M12
120
11
12
8.2
7.9
50
218
230
383
125
125
7
140
110
90
14
16
4
M12
140
12
15
12.8
11.6
65
348
290
430
145
145
7
160
130
110
14
16
4
M12
140
12
19
19.5
18.6
80
390
310
474
155
155
7
190
150
128
18
18
4
M16
160
14
23
24.9
23.8
100
414
350
498
175
175
8
210
170
148
18
18
4
M16
180
14
28
32.65
30.7
125
466
400
561
200
200
8
240
200
178
18
20
8
M16
200
17
35
45.8
44.7
150
528
480
616
225
225
9
265
225
202
18
20
8
M16
200
17
42
59.8
54.9
200
736
600
829
275
275
10
320
280
258
18
22
8
M16
280
24
55
97.1
78.3
250
858
730
986
325
325
11
375
335
316
18
24
12
M16
320
27
65
148.4
126.6
300
1015
850
1160
375
375
12
440
395
365
22
24
12
M20
400
27
80
201.7
179.2
350
1065
980
1210
425
425
12
490
445
415
22
24
12
M20
450
32
100
239.9
229.6


6. IACS Certificate: ABS, BV, CCS, DNV, KR, RINA, LR, NK.

Tel:+86-23-67956606
Email:
