Anchor Swivel Shackle Type B
Anchor Swivel Shackle Type B
Description:
An anchor swivel shackle type B is a type of connector used in marine applications to connect the anchor chain to the anchor. It consists of three components: an anchor shackle, a swivel, and a shackle pin.
The anchor shackle is a U-shaped component with a threaded pin that can be screwed in and out of the shackle body. The swivel is a rotating component that allows the chain to move freely without twisting or kinking. The shackle pin is a removable pin that secures the swivel to the anchor shackle.
The design of the anchor swivel shackle type B allows for the anchor chain to rotate freely, which helps to prevent the chain from twisting and damaging the anchor or the vessel. This type of shackle is typically made of stainless steel or galvanized steel to resist corrosion in saltwater environments.
Overall, the anchor swivel shackle type B is a reliable and durable connector that is widely used in the marine industry.
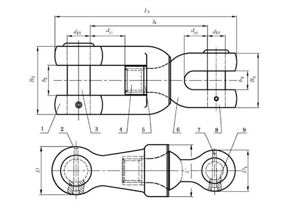
Drawing of Anchor Swivel Shackle Type B:
Main Model of Anchor Swivel Shackle Type B:
|
Model |
Applicable Dia. of Anchor Chain d (mm) |
L1 |
l9 |
d11 |
d12 |
B2 |
b2 |
B3 |
b3 |
D |
D1 |
d13 |
d14 |
C |
Weight (kg) |
|
24 |
24 |
321 |
206 |
59 |
42 |
120 |
53 |
96 |
34 |
84 |
72 |
41 |
31 |
91 |
12.8 |
|
26 |
26 |
347 |
224 |
64 |
44 |
130 |
57 |
104 |
36 |
91 |
78 |
44 |
34 |
99 |
16.2 |
|
28 |
28 |
374 |
241 |
68 |
48 |
140 |
62 |
112 |
39 |
98 |
84 |
48 |
37 |
106 |
20.3 |
|
30 |
30 |
401 |
258 |
73 |
51 |
150 |
66 |
120 |
42 |
105 |
90 |
51 |
39 |
114 |
24.9 |
|
32 |
32 |
427 |
275 |
78 |
55 |
160 |
70 |
128 |
45 |
112 |
96 |
54 |
42 |
122 |
30.2 |
|
34 |
34 |
454 |
292 |
84 |
58 |
170 |
75 |
136 |
48 |
119 |
102 |
58 |
44 |
129 |
36.3 |
|
36 |
36 |
481 |
310 |
90 |
62 |
180 |
79 |
144 |
50 |
126 |
108 |
61 |
47 |
137 |
43.1 |
|
38 |
38 |
508 |
327 |
95 |
66 |
190 |
84 |
152 |
53 |
133 |
114 |
65 |
49 |
144 |
51.0 |
|
40 |
40 |
534 |
344 |
100 |
69 |
200 |
88 |
160 |
56 |
140 |
120 |
68 |
52 |
152 |
59.0 |
|
42 |
42 |
561 |
361 |
104 |
73 |
210 |
92 |
168 |
59 |
147 |
126 |
71 |
55 |
160 |
68.0 |
|
44 |
44 |
588 |
378 |
109 |
75 |
220 |
97 |
176 |
62 |
154 |
132 |
75 |
57 |
167 |
79.0 |
|
46 |
46 |
615 |
396 |
116 |
79 |
230 |
101 |
184 |
64 |
161 |
138 |
78 |
60 |
175 |
90.0 |
|
48 |
48 |
641 |
413 |
122 |
82 |
240 |
106 |
192 |
67 |
168 |
144 |
82 |
62 |
182 |
102.0 |
|
50 |
50 |
668 |
430 |
129 |
86 |
250 |
110 |
200 |
70 |
175 |
150 |
85 |
65 |
190 |
115.0 |
|
52 |
52 |
695 |
447 |
140 |
89 |
260 |
114 |
208 |
73 |
182 |
156 |
88 |
68 |
198 |
130.0 |
|
54 |
54 |
721 |
464 |
148 |
92 |
270 |
119 |
216 |
76 |
189 |
162 |
92 |
70 |
205 |
145.0 |
|
56 |
56 |
748 |
482 |
155 |
96 |
280 |
123 |
224 |
78 |
196 |
168 |
95 |
73 |
213 |
162.0 |
|
58 |
58 |
775 |
499 |
162 |
100 |
290 |
128 |
232 |
81 |
203 |
174 |
99 |
75 |
220 |
180.0 |
|
60 |
60 |
802 |
516 |
168 |
103 |
300 |
132 |
240 |
84 |
210 |
180 |
102 |
78 |
228 |
199.0 |
|
62 |
62 |
828 |
533 |
174 |
106 |
310 |
136 |
248 |
87 |
217 |
186 |
105 |
81 |
236 |
220.0 |
|
64 |
64 |
855 |
550 |
180 |
109 |
320 |
141 |
256 |
90 |
224 |
192 |
109 |
83 |
243 |
242.0 |
|
66 |
66 |
882 |
568 |
186 |
113 |
330 |
145 |
264 |
92 |
231 |
198 |
112 |
86 |
251 |
265.0 |
|
68 |
68 |
908 |
585 |
192 |
116 |
340 |
150 |
272 |
95 |
238 |
204 |
116 |
88 |
258 |
290.0 |
|
70 |
70 |
935 |
602 |
197 |
120 |
350 |
154 |
280 |
98 |
245 |
210 |
119 |
91 |
266 |
317.0 |
|
73 |
73 |
975 |
628 |
205 |
125 |
365 |
161 |
292 |
102 |
255 |
219 |
124 |
95 |
277 |
359.0 |
|
76 |
76 |
1015 |
654 |
214 |
130 |
380 |
167 |
304 |
106 |
266 |
228 |
130 |
99 |
289 |
405.0 |
|
78 |
78 |
1042 |
671 |
219 |
133 |
390 |
172 |
312 |
109 |
273 |
234 |
133 |
101 |
296 |
438.0 |
|
81 |
81 |
1082 |
697 |
228 |
138 |
405 |
178 |
324 |
113 |
286 |
243 |
138 |
105 |
308 |
491.0 |
|
84 |
84 |
1122 |
722 |
236 |
144 |
420 |
185 |
336 |
118 |
294 |
252 |
142 |
109 |
319 |
547.0 |
|
87 |
87 |
1162 |
748 |
244 |
149 |
435 |
191 |
348 |
122 |
305 |
261 |
148 |
113 |
331 |
608.0 |
|
90 |
90 |
1202 |
774 |
253 |
154 |
450 |
198 |
360 |
126 |
315 |
270 |
153 |
117 |
342 |
791.0 |
|
92 |
92 |
1229 |
791 |
259 |
157 |
460 |
202 |
368 |
129 |
322 |
276 |
156 |
120 |
350 |
719.0 |
|
95 |
95 |
1269 |
817 |
267 |
162 |
475 |
209 |
380 |
133 |
333 |
285 |
162 |
124 |
361 |
791.0 |
|
97 |
97 |
1296 |
834 |
273 |
164 |
485 |
213 |
388 |
136 |
340 |
291 |
165 |
126 |
369 |
842.0 |
|
100 |
100 |
1336 |
860 |
281 |
171 |
500 |
220 |
400 |
140 |
350 |
300 |
170 |
130 |
380 |
923.0 |
|
102 |
102 |
1363 |
877 |
287 |
174 |
510 |
224 |
408 |
143 |
357 |
306 |
173 |
133 |
388 |
980.0 |
|
105 |
105 |
1403 |
903 |
295 |
179 |
525 |
231 |
420 |
147 |
368 |
315 |
178 |
137 |
399 |
1069.0 |
|
107 |
107 |
1430 |
920 |
301 |
183 |
535 |
235 |
428 |
150 |
375 |
321 |
182 |
139 |
407 |
1131.0 |
|
111 |
111 |
1483 |
955 |
312 |
190 |
555 |
244 |
444 |
155 |
389 |
333 |
189 |
144 |
422 |
1262.0 |
|
114 |
114 |
1523 |
980 |
320 |
195 |
570 |
251 |
456 |
160 |
399 |
342 |
194 |
148 |
433 |
1368.0 |
|
117 |
117 |
1563 |
1006 |
329 |
200 |
585 |
257 |
468 |
164 |
410 |
351 |
199 |
152 |
445 |
1478.0 |
|
120 |
120 |
1699 |
1104 |
337 |
205 |
600 |
264 |
480 |
168 |
408 |
338 |
204 |
156 |
456 |
1595.0 |
|
122 |
122 |
1727 |
1122 |
343 |
208 |
610 |
268 |
488 |
171 |
415 |
344 |
207 |
158 |
464 |
1676.0 |
|
124 |
124 |
1755 |
1140 |
348 |
212 |
620 |
273 |
496 |
174 |
422 |
350 |
210 |
161 |
471 |
1760.0 |
|
127 |
127 |
1798 |
1168 |
357 |
217 |
635 |
279 |
508 |
178 |
435 |
358 |
216 |
165 |
482 |
1891.0 |
|
130 |
130 |
1840 |
1196 |
365 |
222 |
650 |
286 |
520 |
182 |
442 |
366 |
221 |
169 |
494 |
2028.0 |
|
132 |
132 |
1869 |
1214 |
371 |
226 |
660 |
290 |
528 |
185 |
448 |
372 |
224 |
172 |
502 |
2123.0 |
|
137 |
137 |
1940 |
1260 |
385 |
234 |
685 |
301 |
548 |
192 |
466 |
386 |
233 |
178 |
520 |
2374.0 |
|
142 |
142 |
2010 |
1306 |
399 |
243 |
710 |
312 |
568 |
199 |
482 |
400 |
241 |
185 |
540 |
2643.0 |
|
147 |
147 |
2080 |
1352 |
413 |
251 |
735 |
323 |
588 |
206 |
500 |
415 |
250 |
191 |
558 |
2932.0 |
|
152 |
152 |
2152 |
1398 |
427 |
260 |
760 |
334 |
608 |
213 |
516 |
428 |
258 |
198 |
578 |
3242.0 |
|
157 |
157 |
2223 |
1444 |
441 |
268 |
785 |
345 |
628 |
220 |
534 |
442 |
267 |
204 |
596 |
3572.0 |
|
162 |
162 |
2294 |
1490 |
455 |
277 |
810 |
356 |
648 |
227 |
550 |
456 |
275 |
210 |
616 |
3925.0 |
Type: Anchor Swivel Shackle Type B;
Material: Forged Steel;
Grade: Grade 2, Grade 3;
Nominal Diameter: 24mm to 162mm;
Weight: 12.8kg to 3925kg;
Surface: Black Bituminous Painted, Hot Dip Galvanized;
Packing: Carton or Wooden Case;
Certificates: CCS, ABS, BV, LR, NK, RINA, etc.
Anchor Swivel Shackle Type B in Factory:

Tel:+86-23-67956606
Email:
